上海徽涛自动化设备有限公司
您的位置: 首页 > 新闻资讯 > 技术文章 > 口腔灯阴影测试工装

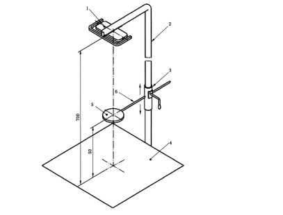
口腔灯阴影测试工装

浏览次数:

口腔灯阴影测试工装

 

执行标准:

YY/T 1120-2021中7.3.8

 

技术参数;

圆盘直径:φ 20mm (厚:1mm)

距离测量屏:50mm                                               

测量屏:带直角坐标系                    

光源距屏:700mm     

工装包含柱、调节用滑动环、测试屏、杆

image.png 

配置清单

工装一套,合格证一份,铭牌一份。

 



推荐资讯

分供气管与转换装置之间连接强度试验机

分供气管与转换装置之间连接强度试验机

分供气管与转换装置之间连接强度试验机&n···
2024-11-06
静电植绒毛绒飞升性能测定仪

静电植绒毛绒飞升性能测定仪

静电植绒毛绒飞升性能测定仪 适···
2024-10-24
医用纤维内窥镜机械性能测试仪

医用纤维内窥镜机械性能测试仪

医用纤维内窥镜机械性能测试仪 ···
2025-02-10
 鞋眼与鞋带耐磨试验机

鞋眼与鞋带耐磨试验机

 鞋眼与鞋带耐磨试验机  本机···
2024-08-21
粘滑度测定仪:上海徽涛为上海XX国际贸易有限公司深度合作

粘滑度测定仪:上海徽涛为上海XX国际贸易有限公司深度合作

文章由上海徽涛自动化设备有限公司提供在精···
2024-10-23
成品鞋剥离强度测试仪

成品鞋剥离强度测试仪

成品鞋剥离强度测试仪 描述鞋子···
2024-08-21
水样蒸发仪:上海徽涛为钦州海关服务中心达成战略合作

水样蒸发仪:上海徽涛为钦州海关服务中心达成战略合作

文章由上海徽涛自动化设备有限公司提供上海···
2025-02-27
轮椅车稳定综合试验机台

轮椅车稳定综合试验机台

轮椅车稳定综合试验机台设备用途用于测试电···
2024-09-30
注射笔笔帽拔出力测试仪(高配版)

注射笔笔帽拔出力测试仪(高配版)

注射笔笔帽拔出力测试仪(高配版)&nbs···
2025-09-25
防蜂服抗蛰刺性能测试仪

防蜂服抗蛰刺性能测试仪

防蜂服抗蛰刺性能测试仪 符合X···
2024-11-08

咨询热线

15921758826